安然居

“最丑建筑”广州圆大厦流拍!近3万围观无人出手,幕后资方潮汕富豪已成“老赖”

 二维码 1214
发表时间:2025-11-16 12:06作者:刘婷来源:时代周报

广州地标建筑广州圆大厦,再一次被推到聚光灯下。

  

阿里拍卖平台披露的信息显示,11月14日10点,广东兴业国际实业有限公司重整投资权益因无人竞拍而流拍,拍品所有人为广东兴业国际实业有限公司,拍卖原因系破产重整。

  

其中,广州圆大厦,正是该标的物的核心资产。该次拍卖共吸引了29755次围观,544人设置提醒。

  


   


  

围观不少,出手者难寻。这栋地标在资本面前的含金量,也因此被冷静地揭开。

  

广州圆大厦位于广州市荔湾区白鹅潭商务区,以其独特的造型和色彩,成为广州的标志性建筑之一。整栋建筑共有33层,高138米,外圆直径达144.6米,内圆直径为47米,造价预计高达10亿元。

  

阿里拍卖平台披露的信息显示,广州圆大厦拍卖的起拍价为13.6亿元,评估价16.99亿元。该项目的所有者广东兴业国际实业有限公司成立于2004年6月22日,注册资本5000万元,法定代表人郑楚英,企业注册地址位于广州市荔湾区荷景路33号自编2栋305房。

  

天眼查资料显示,广东兴业国际实业有限公司的股东结构中,鸿达兴业集团有限公司(下称“鸿达兴业”)占有96%的股份,广东东沙物流有限公司持股4%。

  

而在资本纠葛之外,广州圆大厦的出发点是另一套叙事。

  

广州圆大厦的设计由意大利米兰理工大学教授Joseph DiPasquale主导。在接受媒体采访时,DiPasquale表示,设计这座大厦的初衷是要创造一座富有中国文化内涵的地标建筑,而非简单模仿西方的摩天大楼。设计灵感来源于东方文化,将大厦形状设计为玉璧的轮廓,意图与珠江中的倒影形成呼应,呈现出“双环玉璧”的形态。此外,外形与数字“8”相契合,在中国文化中有着强烈的象征意义。

  

尽管如此,广州圆的外观引发了不少争议。在2017年第八届中国十大丑陋建筑评选中,广州圆大厦位列榜首,成为公众讨论的焦点。

  

而真正考验这栋地标的,并不是审美争议,而是后来接连暴露的财务缺口。

  

2022年4月13日,广州农商银行在中拍平台发布公告,拟转让17项优质债权资产,债权金额合计88.93亿元,涉及鸿达兴业系列、长鸿系列、珠海中珠、吉林交投等公司。其中,鸿达兴业系列债权金额约55.89亿。鸿达兴业系列债权借款人包括鸿达兴业集团有限公司及其下属公司共9个主体。截至2022年2月20日,鸿达兴业系列不良授信本金余额49.6亿元、欠息6.07亿元。

  

债务压力迅速外溢,公司的资本之路也随之进入下一个阶段。

  

鸿达兴业于2004年在深交所上市。2024年3月17日,鸿达兴业公告,公司股票和可转换公司债券已被深交所决定终止上市,并于当年3月18日被深交所摘牌。

  

鸿达兴业的实控人为周奕丰,是一名潮汕商人。鸿达兴业2021年年报介绍称,周奕丰担任广东省潮商会会长、清华大学 EMBA 广东同学会会长等社会职位。1999年起,任鸿达兴业集团有限公司董事长;2004年起,任广东塑料交易所股份有限公司董事长;2012年3月起,任鸿达兴业股份有限公司董事长。

  

而就在企业版图不断扩张的那些年,周奕丰的个人轨迹也在悄悄发生变化。

  

2019年10月,《2009年胡润富豪榜》揭晓,周奕丰以90亿元人民币财富位列第444名。2020年2月,周奕丰以130亿元人民币财富名列《202胡润全球富豪榜》第1607位。

  

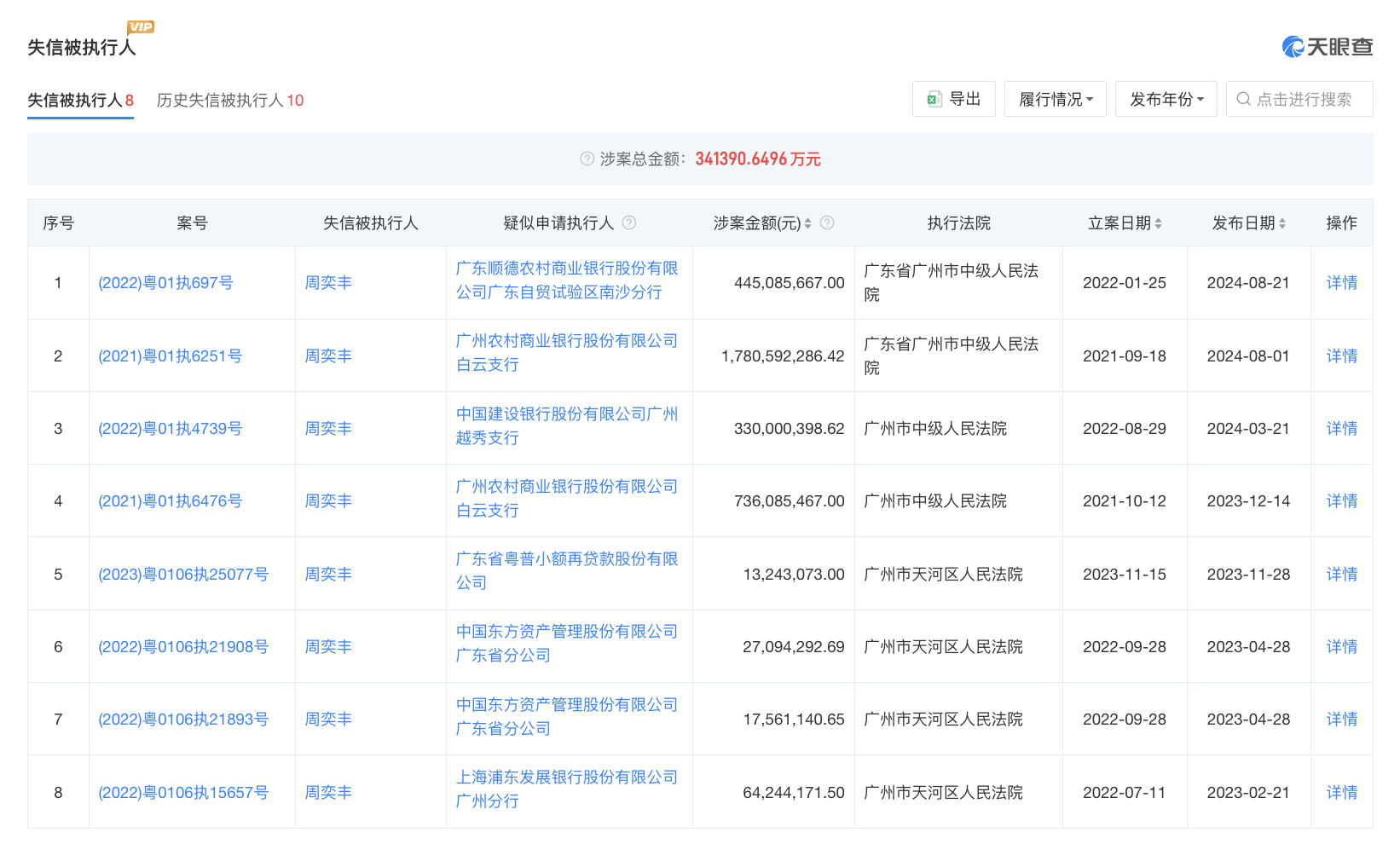
2023年12月14日,鸿达兴业公告称,公司实际控制人周奕丰通知,收到中国证监会下发的《立案告知书》,因其涉嫌信息披露违法违规,中国证监会决定对其立案。天眼查资料显示,周奕丰目前为失信被执行人,被执行金额约为34亿元。

  


   

而随着流拍成为最新的注脚,广州圆大厦也只能暂时伫立在江边,等待下一位愿意接手它的人。

分享到: